網站公告:
2019-02-21 一手資料流出 三大細節看透高精度引伸計標定儀
2018-03-22 普天同創電子發票上線了,不用再苦苦等待紙質發票啦!
您好,歡迎訪問普天同創!
登錄
免費注冊
購物車
收藏網站
產品檢索
標準物質
新聞搜索
規程下載
證書下載
首頁
普天同創
企業簡介
企業理念
企業榮譽
發展歷程
戰略合作伙伴
普天同創(深圳)科技有限公司是一家專注于計量測試產品研究、開發、生產及銷售...
產品中心
計量器具 實驗室檢定裝置
其它非標儀器設備
實驗室耗材
進口實驗室儀器
膠體金檢測卡系列
普天同創(深圳)科技有限公司是一家專注于計量測試產品研究、開發、生產及銷售...
非標定制
非標儀器設備案例
聯系我們定制
新聞資訊
公司動態
技術前沿
文化長廊
行業新聞
普天同創(深圳)科技有限公司是一家專注于計量測試產品研究、開發、生產及銷售...
服務支持
服務流程
常見問題
規程下載
證書下載
留言反饋
使用指南
普天同創(深圳)科技有限公司是一家專注于計量測試產品研究、開發、生產及銷售...
招賢納士
招聘職位
職業規劃
應聘流程
培訓教育
員工風采
普天同創(深圳)科技有限公司是一家專注于計量測試產品研究、開發、生產及銷售...
聯系我們
聯系方式
電子地圖
普天同創(深圳)科技有限公司是一家專注于計量測試產品研究、開發、生產及銷售...
個人中心
個人信息
我的訂單
購物車
行業新聞
首頁
> 新聞資訊
> 行業新聞
涉及多種儀器的擬定項公示
時間:2020-04-30
作者:化工儀器網
閱讀:5215
進入21世紀以后,我國的經濟發展呈現出了突飛猛進的態勢。時至今日,中國經濟仍保持著穩定、快速的增長趨勢,備受世界關注。而與經濟快速發展向適應的,就是標準化進程的不斷推進。
眾所周知,標準化對于各行各業的發展來說,起著規范、引導、統一等作用,事關產品品質和操作規范等諸多方面,影響著產品流通、交易和消費者權益等各個環節。我國經濟的快速發展,離不開國家、行業、團體對標準的重視。另一方面,經濟、社會的發展,又要求我們繼續對標準進行修訂和制定。
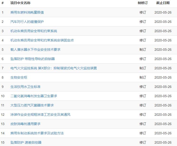
日前,全國標準信息公共服務平臺公示了兩批擬立項標準,一批為2020年第二季度修制訂標準,包括《小型水輪機基本技術條件》等85項;一批為2020年第二批強標項目,包括《電氣火災監控系統 第X部分:抑制諧波式電氣火災監控裝置》等16項。
這兩批標準中,部分擬立項標準涉及了科學儀器設備,如《生物安全柜》、《二氧化氯消毒劑發生器衛生要求》、《大型壓力蒸汽滅菌器技術要求》、《微束分析 電子探針顯微分析(EPMA) 術語》、《微束分析 硫化物礦物的電子探針定量分析方法》、《微束分析 用于波譜和能譜分析的粉末試樣制備方法》等。
以下是部分擬立項標準公示信息:
標準的修制訂對我國的經濟和社會發展起著重要的作用。對企業來說,標準能促使企業加強管理,重視創新,從而提高產品性能和品質,增強企業競爭力和品牌影響力。對于某些領域,如環保領域來說,標準能指導、規范污染監控、檢測、分析的方式方法,提高檢驗檢測精確性,有利于環保行業在科學的數據指導下,有針對性、有計劃性的對污染進行監控及治理。
總之,不斷完善標準化體系,加快標準體系的建設,將有利于充分發揮標準的作用,讓各行各業受益。
資料來源:全國標準信息公共服務平臺
上一篇:生態環境部征求5G基站輻射監測標準意見
下一篇:國家標準化管理委員會發布《關于進一步加強行業標準管理的指導意見》
返回
新聞資訊
>
公司動態
(329)
>
技術前沿
(863)
>
文化長廊
(595)
>
行業新聞
(804)
熱門資訊
普天同創第七屆技術等級評定大會圓滿舉行
2024-12-27
普天同創助力精密測量儀器提質煥新
2024-10-15
喜報!普天同創成功通過市工程技術研究中心認定!
2024-10-11
凝心聚力,逐夢前行 | 普天同創13周年生日快樂!
2024-10-10
普天動態 | 參加計量行業學術交流會,探索科技創新前沿
2023-09-20
直播預告 | 長度計量器具產品參數詳解
2023-07-25
萬眾期待,全球矚目——2023國際計量檢測技術與設備博覽會,我們相約上海,不見不散!
2023-05-18
直擊展會 | CISILE 2023正在進行中
2023-05-11
定了!2023年世界計量日主題發布
2023-04-13
2023年普天同創股東大會暨內部技術等級評定頒獎典禮圓滿結束!
2023-03-13
時光如梭,收獲滿滿,祝福未來的我們?!獎⒖尚馈⒗铄\、田娟
2023-02-22
喜迎元宵,共慶團圓!普天同創發放元宵節福利
2023-02-03
新版《標準鋼卷尺檢定規程》正式實施,有這些變化你知道嗎?
2022-11-15
普天快訊 | 公司開展計量儀器知識專題講座
2022-08-15
產品推薦丨GWB-200JA型引伸計標定儀
2021-10-29
了解熱門儀器,普天同創熱銷產品表
2020-10-01
普天同創
企業簡介
企業理念
企業榮譽
發展歷程
戰略合作伙伴
產品中心
計量器具 實驗室檢定裝置
其它非標儀器設備
實驗室耗材
進口實驗室儀器
膠體金檢測卡系列
非標定制
非標儀器設備案例
聯系我們定制
新聞資訊
公司動態
技術前沿
文化長廊
行業新聞
服務支持
服務流程
常見問題
規程下載
證書下載
留言反饋
使用指南
在線咨詢
0755-23242702 4008830979
您可以通過以下方式聯系我們
友情鏈接:
標準物質網
愛采購
淘寶店鋪
化工儀器網
常見問題
|
留言反饋
|
網站地圖
Copyright ? 2016-2019 普天同創(深圳)科技有限公司版權所有
粵ICP備17009314號
在線營銷
live chat
購物車
點擊咨詢
400-8830-979
0755-23242702 4008830979