網站公告:
2019-02-21 一手資料流出 三大細節看透高精度引伸計標定儀
2018-03-22 普天同創電子發票上線了,不用再苦苦等待紙質發票啦!
您好,歡迎訪問普天同創!
登錄
免費注冊
購物車
收藏網站
產品檢索
標準物質
新聞搜索
規程下載
證書下載
首頁
普天同創
企業簡介
企業理念
企業榮譽
發展歷程
戰略合作伙伴
普天同創(深圳)科技有限公司是一家專注于計量測試產品研究、開發、生產及銷售...
產品中心
計量器具 實驗室檢定裝置
其它非標儀器設備
實驗室耗材
進口實驗室儀器
膠體金檢測卡系列
普天同創(深圳)科技有限公司是一家專注于計量測試產品研究、開發、生產及銷售...
非標定制
非標儀器設備案例
聯系我們定制
新聞資訊
公司動態
技術前沿
文化長廊
行業新聞
普天同創(深圳)科技有限公司是一家專注于計量測試產品研究、開發、生產及銷售...
服務支持
服務流程
常見問題
規程下載
證書下載
留言反饋
使用指南
普天同創(深圳)科技有限公司是一家專注于計量測試產品研究、開發、生產及銷售...
招賢納士
招聘職位
職業規劃
應聘流程
培訓教育
員工風采
普天同創(深圳)科技有限公司是一家專注于計量測試產品研究、開發、生產及銷售...
聯系我們
聯系方式
電子地圖
普天同創(深圳)科技有限公司是一家專注于計量測試產品研究、開發、生產及銷售...
個人中心
個人信息
我的訂單
購物車
行業新聞
首頁
> 新聞資訊
> 行業新聞
2020年第20號—106項推薦性國家標準和5項國家標準修改單
時間:2020-10-14
作者:標準化管理委員會
閱讀:5339
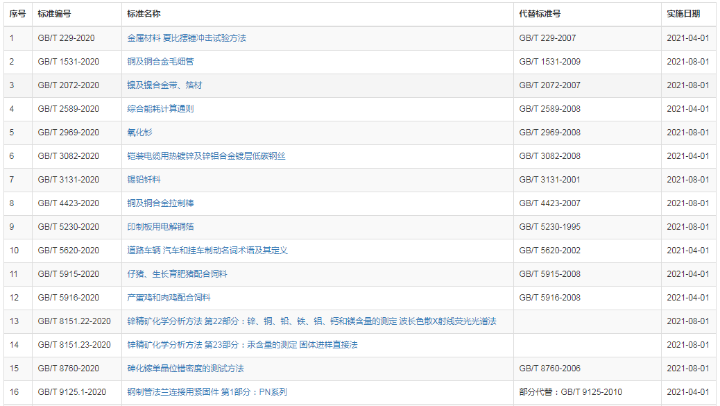
近日,國家市場監督管理局(國家標準化管理委員會)批準《金屬材料 夏比擺錘沖擊試驗方法》等106項推薦性國家標準和5項國家標準修改單,并予以公布。
從公布的106項推薦性國家標準中,可知,多項標準涉及多項化學分析方法,如波長色散X射線熒光光譜法、固體進樣直接法、紫外熒光光度法、氣相色譜法、電感耦合等離子體原子發射光譜法等。
部分標準截圖如下:
詳情請點擊鏈接查看:
點擊鏈接
附件
文件下載:
106項推薦性國家標準、5項國家標準修改單
上一篇:第51屆世界標準日
下一篇:《熱電偶檢定爐溫度場測試技術規范》(征求意見稿)
返回
新聞資訊
>
公司動態
(329)
>
技術前沿
(863)
>
文化長廊
(595)
>
行業新聞
(804)
熱門資訊
普天同創第七屆技術等級評定大會圓滿舉行
2024-12-27
普天同創助力精密測量儀器提質煥新
2024-10-15
喜報!普天同創成功通過市工程技術研究中心認定!
2024-10-11
凝心聚力,逐夢前行 | 普天同創13周年生日快樂!
2024-10-10
普天動態 | 參加計量行業學術交流會,探索科技創新前沿
2023-09-20
直播預告 | 長度計量器具產品參數詳解
2023-07-25
萬眾期待,全球矚目——2023國際計量檢測技術與設備博覽會,我們相約上海,不見不散!
2023-05-18
直擊展會 | CISILE 2023正在進行中
2023-05-11
定了!2023年世界計量日主題發布
2023-04-13
2023年普天同創股東大會暨內部技術等級評定頒獎典禮圓滿結束!
2023-03-13
時光如梭,收獲滿滿,祝福未來的我們?!獎⒖尚?、李錦、田娟
2023-02-22
喜迎元宵,共慶團圓!普天同創發放元宵節福利
2023-02-03
新版《標準鋼卷尺檢定規程》正式實施,有這些變化你知道嗎?
2022-11-15
普天快訊 | 公司開展計量儀器知識專題講座
2022-08-15
產品推薦丨GWB-200JA型引伸計標定儀
2021-10-29
了解熱門儀器,普天同創熱銷產品表
2020-10-01
普天同創
企業簡介
企業理念
企業榮譽
發展歷程
戰略合作伙伴
產品中心
計量器具 實驗室檢定裝置
其它非標儀器設備
實驗室耗材
進口實驗室儀器
膠體金檢測卡系列
非標定制
非標儀器設備案例
聯系我們定制
新聞資訊
公司動態
技術前沿
文化長廊
行業新聞
服務支持
服務流程
常見問題
規程下載
證書下載
留言反饋
使用指南
在線咨詢
0755-23242702 4008830979
您可以通過以下方式聯系我們
友情鏈接:
標準物質網
愛采購
淘寶店鋪
化工儀器網
常見問題
|
留言反饋
|
網站地圖
Copyright ? 2016-2019 普天同創(深圳)科技有限公司版權所有
粵ICP備17009314號
在線營銷
live chat
購物車
點擊咨詢
400-8830-979
0755-23242702 4008830979