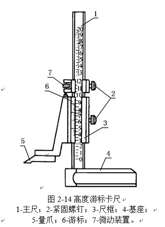
高度游標卡尺如圖2-14所示,用于測量零件的高度和精密劃線。它的結構特點是用質量較大的基座4代替固定量爪5,而動的尺框3則通過橫臂裝有測量高度和劃線用的量爪,量爪的測量面上鑲有硬質合金,提高量爪使用壽命。高度游標卡尺的測量工作,應在平臺上進行。當量爪的測量面與基座的底平面位于同一平面時,如在同一平臺平面上,主尺1與游標6的零線相互對準。所以在測量高度時,量爪測量面的高度,就是被測量零件的高度尺寸,它的具體數值,與游標卡尺一樣可在主尺(整數部分)和游標 (小數部分)上讀出。應用高度游標卡尺劃線時,調好劃線高度,用緊固螺釘2把尺框鎖緊后,也應在平臺上進行先調整再進行劃線。
圖2-15為高度游標卡尺的應用。















